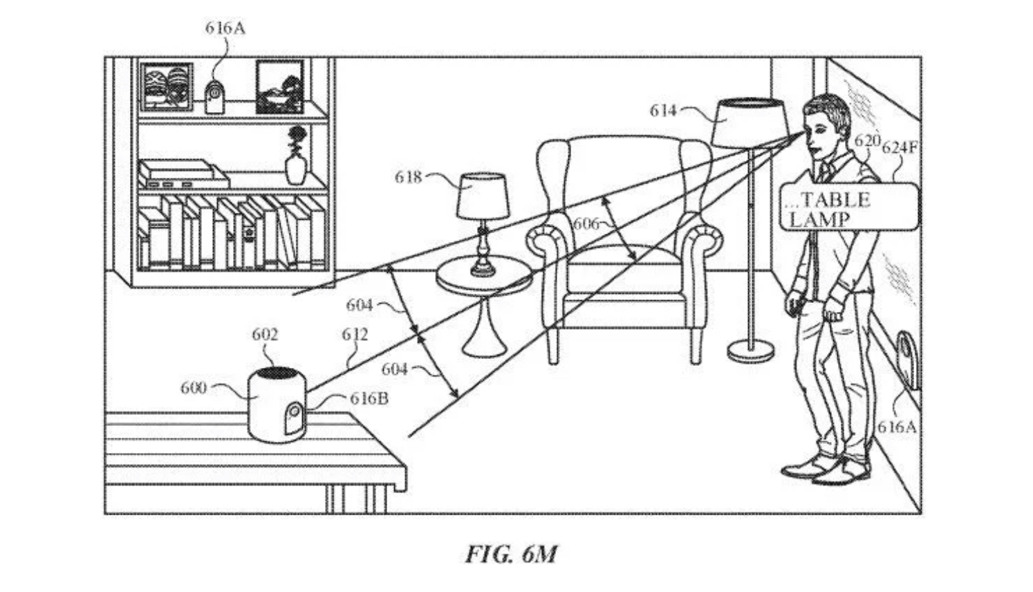
Il sito IMore in un’articolo pubblicato oggi ci aggiorna su un brevetto che Apple ha depositato e che riguarda una fotocamera integrata sugli HomePod, può essere utilizzata per identificare non solo l’utente che effettua una richiesta, ma anche elementi specifici della casa su cui è stato chiesto di agire.

Nel brevetto, Apple parla anche della possibilità che HomePod possa essere attivato con lo sguardo verso la fotocamera, così da essere pronta per i comandi.
La fotocamera dell’HomePod lavorerebbe in sintonia con il microfono per aiutare l’utente a migliorare la risposta del dispositivo.
PubblicitàNell'articolo potrebbero esserci dei banner di prodotti amazon, si avverte che il prezzo potrebbe subire variazioni. In qualità di affiliato Amazon, questo sito potrebbe ricevere una commissione sugli acquisti idonei.*









